原理
由計量箱和裝在計量箱內的一對橢圓齒輪,與上下蓋板構成一個密封的初月形空腔(由于齒輪的轉動,所以不是絕對密封的)作為一次排量的計算單位。當被測液體經管道進入流量計時,由于進出口處產生的壓力差推動一對齒輪連續旋轉,不斷地把經初月形空腔計量后的液體輸送到出口處,橢圓齒輪的轉數與每次排量四倍的乘積即為被測液體流量的總量。
結構
橢圓齒輪流量計由流量變送器和計數機構組成。變送器與計數機構之間加裝散熱器,則構成高溫型流量計。變送器由裝有一對橢圓齒輪轉子的計量室和密封聯軸器組成,計數機構則包含減速機構、調節機構、計數器、發訊器。
應用
適用于瀝青.潤滑油.植物油.柴油.石油.渣油.煤油.機油.汽油.重油.燃料油.導熱油.原油.輕油.絕緣油.液壓油.等多種油產品。

技術參數
| 公稱通徑(mm) | DN10~DN200 | ||
| 被測液體粘度: | 2~3000(mPa.s) | ||
| 防護等級: | IP65(特殊訂制IP68) | ||
| 重復性誤差: | 測量值的±0.2%、±0.5% | ||
| 精度等級: | 0.2級,0.5級 | ||
| 被測介質溫度: | 常溫型: -20~60℃ | ||
| 高溫型: +60℃~200℃ | |||
| 超高溫型:220℃ | |||
|
額定工作壓力: (高壓可定制) |
鑄鐵:≤1.6MPa | ||
| 不銹鋼:≤1.6MPa或2.5MPa | |||
| 鑄鋼:≤2.5MPa(4MPa,6.5MPa可選) | |||
| 輸出信號: | 脈沖信號或者4-20mA電流信號 | ||
| 電流輸出: | 負載電阻 | 0~10mA:0~1.5kΩ | |
| 4~20mA:0~750 Kω | |||
| 數字頻率輸出: | 輸出頻率上限可在1~5000HZ內設定帶光電隔 | ||
| 離的晶體管集電極開路雙向輸出。外接電源 | |||
| ≤35V導通時集電極最大電流為250mA | |||
| 供電電源: | DC24V或3.6V電池 | ||
| 消耗總功率: | 小于20W | ||
| 環境溫度: | 零下40~+60℃ | ||
| 相對濕度: | 5%~95% | ||
口徑與流量參數表(表一)
| 管徑(DN) | 選型代碼 | 流量范圍(m3/h) | |||||||||||||||||
| 常規粘度范圍(mPa.s) | 較高粘度范圍(mPa.s) | ||||||||||||||||||
| 0.3~0.6 | 0.6~2 | 2~200 | 200~1000 | 1000~2000 | |||||||||||||||
| mm | 精度0.5 | 精度0.2 | 精度0.5 | 精度0.2 | 精度0.5 | 精度0.2 | 精度0.5 | 精度0.2 | |||||||||||
| 10 | 10 | 0.2~0.5 | 0.15~0.5 | 0.1~0.5 | 0.1~0.5 | 0.05~0.5 | 0.06~0.3 | 0.03~0.3 | 0.03~0.2 | ||||||||||
| 10 | 10(min.) | 0.08~0.2 | 0.1~0.25 | 0.05~0.25 | 0.08~0.25 | 0.05~0.25 | 0.03~0.05 | 0.02~0.05 | / | ||||||||||
| 15 | 15 | 0.75~1.5 | 0.5~1.5 | 0.3~1.5 | 0.3~1.5 | 0.15~1.5 | 0.2~1.0 | 0.1~1.0 | 0.07~0.7 | ||||||||||
| 20 | 20 | 1.5~3 | 1~3 | 0.5~3 | 0.5~3 | 0.3~3 | 0.4~2.1 | 0.2~2.1 | 0.15~1.5 | ||||||||||
| 25 | 25 | 3~6 | 2~6 | 1~6 | 1~6 | 0.6~6 | 0.8~4.2 | 0.4~4.2 | 0.3~3 | ||||||||||
| 40 | 40 | 7.5~15 | 5~15 | 2.5~15 | 2.5~15 | 1.5~15 | 2.1~10.5 | 1.0~10.5 | 0.7~7.5 | ||||||||||
| 50 | 50 | 8~24 | 8~24 | 4.8~24 | 4.8~24 | 2.4~24 | 2.4~16.8 | 1.6~16.8 | 1.2~12 | ||||||||||
| 40(50) | 40B(50B) | 6~20 | 6~20 | 4~20 | 4~20 | 2~20 | 2.8~14 | 1.4~14 | 1.0~10 | ||||||||||
| 65 | 65 | 20~40 | 15~40 | 8~40 | 8~40 | 4~40 | 5.6~28 | 2.8~28 | 2~20 | ||||||||||
| 80 | 80 | 30~60 | 20~60 | 12~60 | 12~60 | 6~60 | 8.4~42 | 4.2~42 | 3~30 | ||||||||||
| 100 | 100 | 50~100 | 34~100 | 20~100 | 20~100 | 10~100 | 14~70 | 6~70 | 5~50 | ||||||||||
| 150 | 150 | 95~190 | 64~190 | 38~190 | 38~190 | 19~190 | 26.6~133 | 13.3~133 | 9.5~95 | ||||||||||
| 200 | 200 | 170~340 | 114~340 | 56~340 | 56~340 | 34~340 | 47.6~238 | 23.8~238 | 17~170 | ||||||||||
| 管徑 | 選型代碼 | 流量范圍(L/h) | |||||||||||||||||
| 常規粘度范圍(mPa.s) | 較高粘度范圍(mPa.s) | ||||||||||||||||||
| 0.8~2.5 | 2.5~20 | 20~150 | 150~350 | ||||||||||||||||
| DN | 精度0.5 | 精度0.3 | 精度0.5 | 精度0.3 | 精度0.5 | 精度0.3 | 精度0.5 | 精度0.3 | |||||||||||
| 6 | 6 | 30~120 | 60~120 | 20~120 | 40~120 | 10~110 | 20~110 | 6~60 | 12~60 | ||||||||||
結構材質與耐壓等
| 型號 | 統稱材質 | 殼體材質 | 齒輪 | 軸與軸承 | 耐壓Mpa |
| FG10- | 鑄鐵 | 鑄鐵 | 不銹鋼1.4301(304) &鋁合金 | 不銹鋼軸承 | 1.6MPa |
| FG20- | 鑄鋼 | 鑄鋼 |
≤DN50,6.3MPa; ≥DN65,4.0MPa; ≥DN150,2.5MPa |
||
| FG30L- | 不銹鋼1.4301(304) | 不銹鋼1.4301(304) |
≤DN50,2.5MPa; ≥DN65,1.6MPa |
||
| FG30K- | 不銹鋼1.4435(316L) | 不銹鋼1.4435(316L) | 1.4435(316L) |
≤DN50,2.5MPa; ≥DN65,1.6MPa |
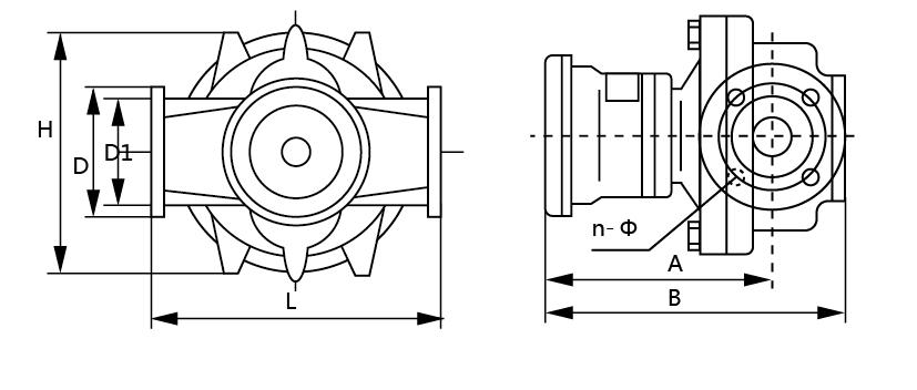
外形參數表
1.鑄鋼型外形尺寸
| 公稱通經 | L | H | A | B | D | D1 | N(個) | Φ | 重量(kg) | ||||||||||
| 15 | 200 | 138 | 180 | 232 | 105 | 75 | 4 | 14 | 12 | ||||||||||
| 20 | 250 | 164 | 160 | 220 | 125 | 90 | 4 | 18 | 18 | ||||||||||
| 25 | 300 | 202 | 185 | 252 | 135 | 100 | 4 | 18 | 22 | ||||||||||
| 40 | 300 | 202 | 208 | 293 | 165 | 125 | 4 | 23 | 27 | ||||||||||
| 50 | 384 | 262 | 312 | 394 | 175 | 135 | 4 | 23 | 66 | ||||||||||
| 80 | 450 | 337 | 332 | 452 | 210 | 170 | 8 | 23 | 118 | ||||||||||
| 100 | 555 | 442 | 310 | 478 | 250 | 200 | 8 | 25 | 210 | ||||||||||
| 150 | 540 | 510 | 347 | 557 | 300 | 250 | 8 | 26 | 260 | ||||||||||
| 200 | 650 | 650 | 476 | 720 | 36 | 310 | 12 | 26 | 430 |
2.不銹鋼型外形尺寸
| 公稱通經 | L | H | A | B | D | D1 | N(個) | Φ | 重量(kg) | ||||||||||
| 10 | 170 | 100 | 167 | 216 | 90 | 60 | 4 | 14 | 7 | ||||||||||
| 15 | 200 | 120 | 172 | 228 | 95 | 65 | 4 | 14 | 11 | ||||||||||
| 20 | 230 | 150 | 225 | 238 | 105 | 75 | 4 | 14 | 17 | ||||||||||
| 25 | 280 | 195 | 232 | 246 | 115 | 85 | 4 | 14 | 21 | ||||||||||
| 40 | 260 | 178 | 265 | 349 | 145 | 110 | 4 | 18 | 24 | ||||||||||
| 50 | 260 | 178 | 265 | 349 | 160 | 125 | 4 | 18 | 24 | ||||||||||
| 65 | 365 | 260 | 319 | 436 | 180 | 145 | 4 | 18 | 60 | ||||||||||
| 80 | 420 | 305 | 324 | 459 | 200 | 160 | 8 | 18 | 82 | ||||||||||
| 100 | 515 | 400 | 373 | 554 | 220 | 180 | 8 | 18 | 127 | ||||||||||
| 150 | 540 | 515 | 397 | 607 | 280 | 240 | 8 | 23 | 280 | ||||||||||
| 200 | 650 | 650 | 397 | 646 | 340 | 295 | 12 | 23 | 435 |
PS:鑄鐵、鑄鋼高溫型橢圓齒輪流量計外形尺寸:DN15~DN25,A、B尺寸按上述表格數據加160mm散熱延伸管:DN40~DN80,A、B尺寸按上述表格尺寸加300mm散熱延伸管,其余尺寸同上述表格相應尺寸。(介質溫度>100°C時選項需考慮此項)
A 適用于DN15~25
B 適用于DN40~100
備注:齒輪類產品應粘度與耐壓等過程連接等因素各異,無法詳盡列表表述尺寸項目,如需具體尺寸圖請提供詳盡參數。
選型表
| FG10- | 鑄鐵通用型齒輪流量計 | ||||||||||
| FG20- | 鑄鋼通用型齒輪流量計 | ||||||||||
| FG30L- | 不銹鋼齒輪流量計.1.4301(304) | ||||||||||
| FG30K- | 不銹鋼齒輪流量計.1.4435(316L) | ||||||||||
| 適用管徑 | |||||||||||
| 10 | DN10 – DN200 (mm) 詳見選型代碼表 | ||||||||||
| 連接方式 | |||||||||||
| F | 法蘭型連接 | ||||||||||
| T | 外螺紋連接 | ||||||||||
| 被測液體粘度 | |||||||||||
| A | 0.3~0.6mpa.s | ||||||||||
| B | 0.6~2mpa.s | ||||||||||
| C | 2~200mpa.s | ||||||||||
| D | 200~1000mpa.s | ||||||||||
| E | 1000~2000mpa.s | ||||||||||
| 被測介質溫度 | |||||||||||
| 1 | 常溫型 -20~60℃ | ||||||||||
| 2 | 高溫型 60~220℃ | ||||||||||
| 精度等級 | |||||||||||
| 5 | 0.5級 | ||||||||||
| 3 | 0.25級 | ||||||||||
| 2 | 0.2級 | ||||||||||
| 耐壓值 | |||||||||||
| 1.0 | 詳見參數備選項 如1.0=1MPa | ||||||||||
| 信號類型 | |||||||||||
| P | 脈沖信號 | ||||||||||
| A | 4~20mA電流信號 | ||||||||||
| F | 無信號 | ||||||||||
| 備選項:就地顯示系統 | |||||||||||
| /DA | 機械字輪累積量顯示單元(備選項) | ||||||||||
| /DA2 | 機械字輪累積量顯示單元+清零功能 | ||||||||||
| /DB | 液晶數顯單元(備選項) | ||||||||||
| /H | 保溫夾套功能(易固化介質必須選擇此項) | ||||||||||
| /C | 縮徑擴徑功能 | ||||||||||
| FG10- | 10 | F | A | 1 | 5 | 1.0 | P | /DA | ←選型示例 | ||
| 必選項: 供電方式 | 直流DC24V | /DC24V | |||||
| 鋰電池3.6V | /DC3.6V | ||||||
| 無供電指針型 | /0 | ||||||
訂貨提示
1.訂貨時請注明介質流向,介質種類,管徑及期望測量區間值。我們可在出廠時幫您完成精確校驗。
2.若是黏性介質,請注明黏度,溫度及介質種類和管內壓力等級。



