關于水流量計安裝注意事項,由于工控不同,這個問題也是很多小伙伴經常咨詢的問題之一,關于這個問題,下面給大家淺析一下,供大家參考,希望對大家的工作和學習有所幫助。
一、安裝說明
水流量計的設計、測試和供電都有安全規定。用戶必須嚴格遵守本手冊的有關規定,以確保流量計的安全操作和運行。保證電磁流量計測量精度的必要條件如下:
被測液體介質必須是導電的。
被測液體介質必須充滿管道。
被測液體介質必須均勻,避免電導率不均勻(會造成嚴重干擾)。如果需要動態添加化學品,則應將其注入儀表下游。
水流量計系統必須良好接地。
水流量計的進水直管應至少為5倍DN(測量管道內徑),出水直管至少應為2倍DN。
在水流量計附近,避免強電磁場干擾,避免安裝在大型電機或變壓器等設備附近。
2. 安全措施
為保護人身和設備安全,應遵守以下規定:
在選擇位置和安裝流量計之前,必須仔細閱讀本手冊的相關部分,并考慮流量計、相關設備和機身環境的安全要求。
儀表的安裝和維護應由具有一定儀表知識的人員進行。
正確安裝流量計傳感器和管道,確保密封安全可靠。液體壓力不應超過銘牌上規定的最大工作壓力。
采取一定的措施防止觸電事故的發生。
水流量計的起吊設備應符合安全規定。
3.安裝前檢查
檢查法蘭、襯里、外殼和出口襯套是否損壞。
打開盒蓋,檢查接線印刷電路板是否松動或損壞。
檢查銘牌上的型號代碼是否與訂貨代碼一致。
4、起重
水流量計的吊裝應采用正確的吊裝方法,吊裝設備的安全載荷和防護措施應符合有關規定。禁止在轉換器箱(一體式流量計)或接線箱(分離式流量計)處用繩索連接儀表。

5、正確選擇安裝位置
正確選擇安裝位置和正確安裝流量計是非常重要的環節,如果安裝環節錯誤,輕的會影響測量精度,重的會影響流量計的使用壽命,甚至損壞流量計。 選擇安裝位置時應注意以下問題:
測量電極的軸線必須近似水平(一般在水平線的 10° 以內)。

測量管必須完全充滿液體。
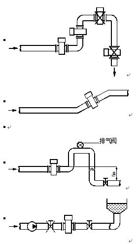
水流量計前部至少有5×D(D為流量計內徑)長度的直管段,后部至少有2×D(D為流量計內徑)長度 直管段。

流體的流動方向與流量計的箭頭方向相同。
如果管道中存在真空,可能會損壞流量計的內襯,則應特別小心。
流量計附近應無強電磁場,儀表安裝地點磁場強度應小于400A/m(避免安裝在大型電機或變壓器等設備附近)。
如果測量管有振動,流量計兩側應設置固定支架。
測量不同介質的混合物時,混合點與流量計的距離至少應為30×D(D為流量計的內徑)。
為方便以后對流量計的清洗和維護,應安裝旁通管。
定時安裝四氟內襯的流量。連接兩個法蘭的螺栓要均勻擰緊,否則容易壓壞聚四氟乙烯襯里。最好使用扭矩扳手。
儀器應避免強烈振動和溫度變化過大,防止腐蝕性液體的泄漏對儀器造成損壞。
如果安裝地點易受陽光照射,則應提供額外的遮蔽物。
安裝傳感器時,確保測量管與過程管同軸。對于標稱尺寸不超過 50mm 的傳感器,軸偏差不得超過 2mm。 DN65~DN150的軸偏差不大于3mm,≥DN200的軸偏差不大于4mm。
安裝在法蘭之間的法蘭墊片應具有良好的耐腐蝕性,不得伸入管道內。
緊固儀表螺栓和螺母,螺紋應完好,潤滑良好。應根據法蘭尺寸和扭矩大小使用扭矩扳手擰緊螺栓。
在傳感器管道附近進行焊接或火焰切割時,應采取隔離措施,防止內襯受熱,并要保證儀表不通電,以防損壞儀表。
六、安裝方法
應安裝在水平管道的下層,垂直向上,避免安裝在管道的最高點,垂直向下。
7. 接地要求
水流量計的接地非常重要。 如果接地不好,則不能正常運行。 傳感器部分應有良好的單獨接地線(銅芯截面積為1.6mm2),接地電阻<10Ω。
接地回路
如果與傳感器連接的管道是絕緣的,則需要接地環。 材料應與電極材料相同。 如果被測介質具有磨損性,則應選擇帶頸接地環。
接地方式
8.改變轉換盒的方向
轉換盒可以根據需要在四個不同的方向更換。
一體化電磁流量計換向盒換向
① 拆下固定轉換器盒的四顆六角螺絲。
(2) 將轉換盒轉動到所需方向,轉動時注意內部電纜。
③ 重新固定轉換盒。
分體式電磁流量計接線盒方向的改變
① 拆下固定接線盒的四顆六角螺絲
② 將接線盒轉動到所需方向,轉動時注意內部連接線
③ 重新安裝接線盒。
科威勒自動化(上海)有限公司是一家制造及銷售水質分析儀表,溫度儀表,壓力儀表,液位儀表,流量儀表等產品;該產品廣泛應用于石油、化工、燃氣、冶金、電力、造紙、食品、制藥、水電站、城市建設及水利工程等行業。 (依法須經批準的項目,經相關部門批準后方可開展經營活動)的公司,是一家集研發、設計、生產和銷售為一體的專業化公司。kewill儀表不斷開拓創新,追求出色,以技術為先導,以產品為平臺,以應用為重點,以服務為保證,不斷為客戶創造更高價值,提供更優服務。kewill儀表始終關注儀器儀表行業。滿足市場需求,提高產品價值,是我們前行的力量。